今年年初红领金服,美国杜鲁门号核动力航母在苏伊士运河附近遭遇撞船事故,让五角大楼颜面大失。而近日,美国海军水兵向美国商业内幕网站爆料称,时隔8个月后,该航母仍未....
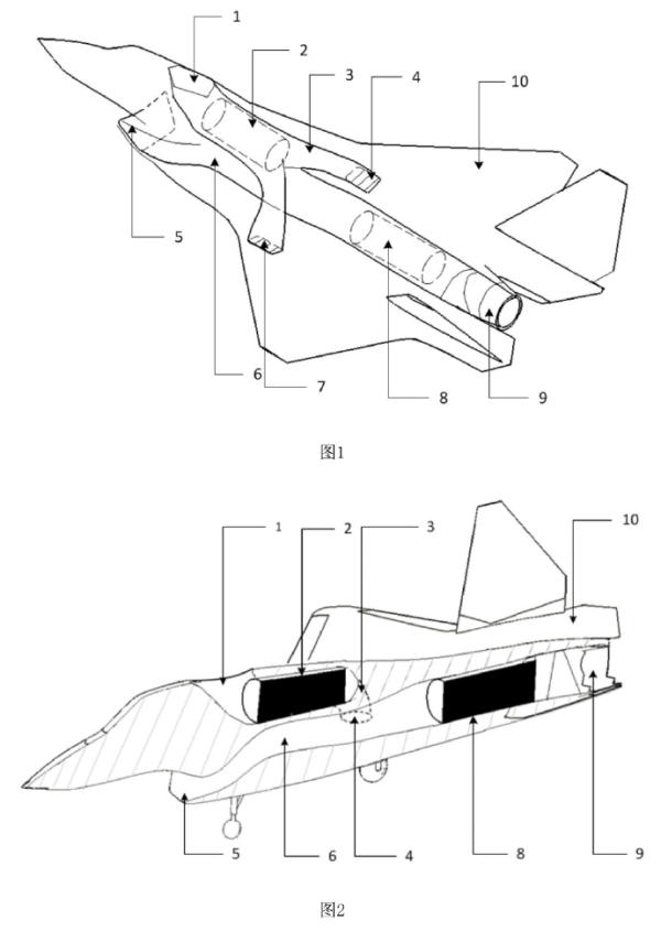
近日,《一种双发串联垂直起降飞机 实用新型专利》和《一种油电混合驱动双发短距垂直起降飞机及其操控方法 发明专利申请》两篇专利文件引发热议。这两份专利文件分别来自....
近日,卤制品上市公司煌上煌发布三季报,今年前三季度,其营收同比下跌了5.08%至13.79亿元,净利润同比上涨28.59%至1.01亿元。而在最新的第三季度天龙....
10月22日,京东联合广汽、宁德时代推出的神秘“国民好车”001号,在京东拍卖以7819.3399万元成功获拍,起拍价仅为1元。据悉,此次拍卖于10月17日开启....
50多岁的徐先生在一款可以在线求职招聘找工作的App上发现了市面上难寻的“好工作”:交五险一金,做六休一,技能要求是会开厢式小货车。简单线上沟通后智慧财讯,徐先....
国内新能源汽车产业正在呈现“双端发力”的发展态势:一端是以智能化、自动驾驶为代表的高端创新鼎豪投资,凭借领先的科技实力打造全球瞩目的尖端产品;另一端则通过技术普....
新华社北京4月18日电 题:持有债券4.5万亿元!境外机构看好中国债券市场 新华社记者任军、吴雨 近一段时间,境外机构普遍看好我国债券市场,增持债券趋势明显。记....
4月18日,北京证监局召开2025年辖区上市公司监管工作会议。会议学习传达近期资本市场重要会议精神,总结回顾2024年辖区上市公司监管工作成效证配所配资,通报上....
日前谋略天下,一则同程、万达两大知名品牌携手的消息,让不少业内人士为之一惊。 4月17日晚,同程旅行(HK00780)披露,其子公司将以24.97亿收购万达酒店....
“五一”出游需求持续旺盛。4月18日,记者从美团获悉,4月17日“五一”火车票开售当日通弘网 ,部分热门线路火车票“30分钟抢光”。其中,北京到青岛、秦皇岛、郑....
盈股网配资文章加载中,请稍后...
【市场回顾】 沪指冲高回落失守4000点海南、福建板块全天活跃 受隔夜外围市场大跌影响,11月14日,A股市场同步走弱,沪指盘中一度翻红续创十年新高,午后加速回....
上证报中国证券网讯(记者闫刘梦)中国人民银行副行长陶玲11月14日在第十六届财新峰会上表示,针对不同层面的投融资需求,积极发展股权、债券等直接融资,完善市场基础....
新华财经上海11月14日电 11月14日,上海市教育委员会等四部门印发《关于进一步做好上海市中小学食堂供餐服务招投标工作的指导意见》。全文如下: 关于进一步做好....
在国际环境复杂变化的背景下,国民经济运行基本平稳。国家统计局11月14日公布的经济数据显示,10月份,生产供给继续增长,市场销售持续扩大,就业物价数据出现积极变....
热点栏目 自选股 数据中心 行情中心 资金流向 模拟交易 客户端 作者:陈骏昊 国泰君安期货市场分析师 Z0021546 白银价格近期延续强势,截至发稿,COM....
新浪科技讯 12月10日下午消息,近日,夸克AI眼镜S1在多渠道频频“上架即售罄”,被传发货周期已拉长至45天,而在二手交易市场,现货价格更是被炒到4000-5....
美国制造商通用电气能源公司向股东大幅派发回报,这一最新动向表明,未来数年市场对新型天然气发电设备的需求将持续保持强劲。 这家发电设备制造商于周二在纽约举办的投资....
炒股就看金麒麟分析师研报,权威,专业,及时,全面,助您挖掘潜力主题机会! 5000亿巨头,突然终止并购,为什么?后续怎么办? 12月9日晚间,市值超5000亿元....
文案|冻冻 编辑|黄小影 2026年国产剧在各类题材中寻求突破,比如《生命树》就是在年代剧的基础上加入高原生态保护的设定,大大提升了故事的可看性。 而除此之外,....
2005年,一组在四川阿坝州拍摄的照片开始在网上流传。照片里是一位羌族女孩,站在自家附近,穿着民族服装,眼神清亮,笑容自然。很快,这些图片被很多人转发,在当时的....
4月15日,中国黄金黄金价格956元/克,铂金价格358元/克。(价格仅供参考98策略,以门店实际为准)同日上海黄金交易所现货黄金AU9999最新价为762.8....
新华社贵阳5月4日电(记者李凡)记者从贵州省有关部门获悉,贵州省黔西市新仁苗族乡六冲河东风库区附近发生载人游船侧翻事故。当天下午4时许联丰优配 ,位于乌江上游的....
大河网讯 在韩国,流传着一句颇具趣味的俗语:“不要和没读过《三国志》(即中国的《三国演义》小说——编者注)的人交往,也不要和读过3遍以上的人争论。”韩国自媒体博....
2025年7月30日7时24分(北京时间)长富配资,堪察加东岸远海海域(52.53°N,160.16°E)发生8.8级地震,震源深度为20千米。 截至今天上午1....
摘要:全面推动叶城特色产业与城市品牌“双轨出海”胜亿配资 新疆叶城特色产业暨城市品牌(上海)推介会在沪举办。本次活动以“昆仑遗韵.沪叶共鉴”为主题,紧扣国家乡村....
知道笔者喜欢研究美食和著名江南菜肴的来源与拓展,上海社会科学院出版社社长钱运春教授兴致勃勃地赠送其最近出品图书《江南烟火:有滋有味的百年民间饮食》。触摸下来感知....
今年,市委市政府审议通过了张江再出发行动方案。目前,浦东正集中力量建设国际一流张江科学城,优化创新生态,畅通“从0到100”的创新全链条。今天市政府新闻办举行“....
(原标题:第八届董事会第四十一次会议决议公告)方舟配资方舟配资方舟配资 浙江南都电源动力股份有限公司第八届董事会第四十一次会议于2025年6月6日召开,应参会董....
丰业银行资本市场经济学主管德雷克·霍尔特指出,虽然加拿大第三季度GDP折年率增速仅录得约0.4%,但这与加拿大央行最新发布的0.5%增长预期基本一致。该分析师强....
5月20日,电池级碳酸锂现货平均价格创2021年1月19日以来的最低水平点点金,碳酸锂期货价格则创上市以来新低。截至午盘收盘点点金点点金,碳酸锂期货主力合约跌0....
盈股网配资🥇线上股票配资资金安全不仅关乎投资者的切身利益,也是配资平台持续发展的基石。正规平台深知此理,因此将资金安全放在首位。